Металлы
Для начала приведу таблицу 1.1 [Саст, 1990, 335 с.]. «Коэффициент концентрации» — это величина, которая показывает насколько данного вещества в выбросах МСЗ больше, чем в обычном воздухе, т.е. то, что называется «фон».
Таблица 1.1 Содержание химических элементов в продуктах сжигания твердых бытовых отходов разных городов
|
Выбросы в воздух |
Летучая зола | |||
|
Элемент |
Элемент содержание, % |
коэффициент концентрации, % |
Элемент содержание, % |
коэффициент концентрации, % |
|
Висмут |
0,0003 — 0,0013 |
300 — 1300 |
0,01 |
10000 |
|
Серебро |
0,0006 — 0,0021 |
86 — 300 |
0,003 — 0,01 |
430 — 1430 |
|
Олово |
0,02 — 0,18 |
80 — 720 |
0,22 — 0,3 |
880 —1200 |
|
Свинец |
0,155 — 0,186 |
97 — 116 |
0,45 — 1 |
281 — 625 |
|
Кадмий |
0,0005 — 0,0012 |
38 — 923 |
0,005 — 0,01 |
380 — 770 |
|
Сурьма |
0,003 — 0,009 |
60 — 180 |
0,01 — 0,02 |
200 — 400 |
|
Медь |
0,15 — 0,4 |
32 — 85 |
0,07 — 0,3 |
15 — 64 |
|
Цинк |
0,18 — 0,56 |
22 — 68 |
1 — 3 |
120 — 360 |
|
Хром |
0,06 — 0,16 |
7 — 20 |
0,08 — 0,6 |
10 — 200 |
|
Ртуть |
0,00004 — 0,00009 |
5 — 10 |
— |
— |
Из данных этой таблицы видно, что в дымах МСЗ опасных металлов в некоторых случаях в тысячи раз больше, чем в «обычном» воздухе. Токсичные металлы выбрасываются в форме солей или окислов, то есть в устойчивом виде и могут лежать неопределенное число лет, накапливаясь постепенно и с пылью попадая в организм человека. Опасность токсичных металлов именно в том, что они (кроме ртути, которая любит мигрировать) могут накапливаться. Поэтому нормативы предельно допустимых концентраций (далее нормы ПДК) могут оказаться не применимыми к таким выбросам.
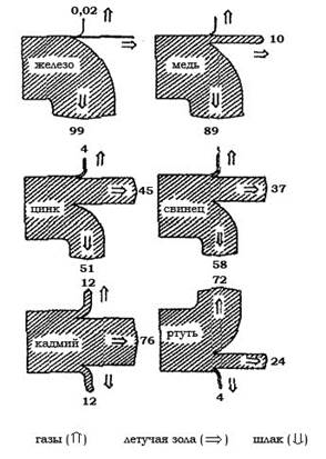
На рис. 1 показано, как распределяются выбросы металлов между выбросом в воздух, пылью iа фильтрах и шлаком, вытекающим из сжигателя. Естественно, что почти все железо (99%) уходит в шлак, но уже медь частично летит с пылью и именно она ответственна за образование диоксинов в зонах охлаждения газов.
Рис. 1.1. Распределение выбросов металлов.
Впрочем, ученые только начали изучать этот процесс и на роль катализатора рассматриваются и иные металлы. Один из самых токсичных и коварных металлов, кадмий, летит с пылью, и удержать его на фильтрах трудно, 12% улетает в трубу. Но ртуть, о ядовитости которой все знают, почти вся (72%) следует за кадмием. Тяжелые металлы оседают вокруг МСЗ по розе ветров и образуют характерное пятно загрязнения, а уж потом начинаются миграционные процессы и токсичные металлы, особенно ртуть, расходятся во все стороны к нам на стол.
Экологические заметки
Экологическая оценка состояния популяции редкого вида Касатика (Ириса) карликового
Постановка проблемы.
В течение ряда лет члены детского
экологического объединения «Родник» участвуют в экологических экспедициях,
изучающих растительность Природного парка «Цимл ...
Управление водоснабжением и водоотведением в городском коммунальном хозяйстве
Водохозяйственная система представляет собой географический
комплекс природных и искусственно созданных водных объектов и инженерных
сооружений, совместно функционирующих для удовл ...
Тонкослойная хроматография остаточных концентраций пестицидов в пищевых продуктах
Химикаты (инсектициды, гербициды, фунгициды) используются для удобрения
почвы, борьбы с сорняками, насекомыми и грызунами, для защиты урожая от плесени
и грибков. С их помощью повы ...